星欧娱乐

上海聚仁电力

继电器制造商
电力继电器研发与生产的企业

咨询服务热线139-6888-3630
继电器选型
星欧娱乐> 技术文章>警报继电子元件

联系星欧娱乐

  • 导轨信号继电器
  • 文章类别:信号继电器
  • 文章概述
  • 产品分类

    询价留言

    RX-D信号继电器概述
    RX-D导轨信号继电器用于直流操作的保护和自动控制装置中,作为故障动作的信号指示之用。本系列继电器由电子器件和进口小型继电器等构成,是电力系统中信号继电器更新换代的首选产品。与老产品相比,
    本继电器有以下优点:
    a.动作速度快,克服了原电磁式继电器不能指示真空开关快速动作信号的缺陷;
    b.既具有就地复归方式,又具有远方复归方式,可实现远程控制。复归方式有通电与断电两种,以便用户灵活选择;
    防震性能好,并可任意位置安装;
    c.既有电保持,又有磁保持,信号记忆可靠,带有多组动合触点,既可接入LED光字牌或白炽灯光字牌,也能满足远传
    要求。
    d.电流启动型启动电流通用范围宽(0.01-4A),极大地便于用户选型和压缩库存。
    e.既可导轨安装也可面板开孔安装。
    RX-D信号继电器型号及命名
    RX-D信号继电器型号及命名
    RX-D信号继电器主要技术参数
    1、继电器启动值:电压型启动电压不小于额定电压的50%,不大于额定电压的70%;电流启动型的启动电流范围在0.01-4之间通用。
    2、功率消耗:
    a.启动回路:
    电压启动型不大于3W;电流启动型启动电流为2A时,不大于6W。
    b.辅助电源回路(动作时):
    不大于5.5W。
    3、动作时间:不大于15ms。
    RX-D信号继电器接线图
    RX-D信号继电器主要技术参数
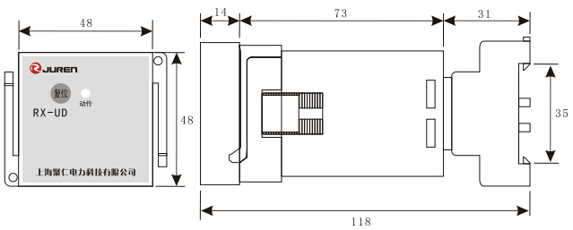
    RX-D信号继电器外形及开孔尺寸
    RX-D信号继电器外形及开孔尺寸
    *主旨:

    称乎:

    邮件地址:

    厂家:

    *通话:

    发传真:

    自己的名字:

    *验证码:

    var _hmt = _hmt || []; (function() { var hm = document.createElement("script"); hm.src = "https://hm.baidu.com/hm.js?4cb0651a1350493021ec049b77b9cfbd"; var s = document.getElementsByTagName("script")[0]; s.parentNode.insertBefore(hm, s); })(); !function(p){"use strict";!function(t){var s=window,e=document,i=p,c="".concat("https:"===e.location.protocol?"https://":"http://","sdk.51.la/js-sdk-pro.min.js"),n=e.createElement("script"),r=e.getElementsByTagName("script")[0];n.type="text/javascript",n.setAttribute("charset","UTF-8"),n.async=!0,n.src=c,n.id="LA_COLLECT",i.d=n;var o=function(){s.LA.ids.push(i)};s.LA?s.LA.ids&&o():(s.LA=p,s.LA.ids=[],o()),r.parentNode.insertBefore(n,r)}()}({id:"K9y7iMpaU8NS42Fm",ck:"K9y7iMpaU8NS42Fm"});